Рупорний гучномовець LH1-UC30E
Рупорний гучномовець LH1-UC30E
Прямокутний рупор являє собою унікальну комбінацію рупора для сповіщення і двох перетворювачів (для високих і низьких частот), що забезпечує виняткову чистоту звуку.
Рупор захищений від атмосферних впливів і може використовуватися в місцях з високою вологістю. Тому рупор підходить для застосування поза приміщеннями (наприклад, на спортивних майданчиках, стадіонах, у парках відпочинку, на виставкових комплексах та пасажирських терміналах), а також для застосування в системах оповіщення, що встановлюються всередині приміщень.
Рупорний гучномовець з АБС-пластика і алюмінієвий кронштейн пофарбовані в світло-сірий колір (RAL 7035).
Гучномовець LH1-UC30E призначений для використання в системах голосового оповіщення та відповідає стандартам EVAC.
Рупорний гучномовець має вбудований захист, що забезпечує збереження ланцюга, до якої він підключений, навіть в разі виникнення пошкоджень гучномовця під час пожежі. Це дозволяє зберегти цілісність системи і працездатність інших гучномовців, які можуть використовуватися для інформування людей про ситуацію. У рупорні гучномовці є керамічні клемні колодки, плавкий запобіжник і термостійкий проводка.
У гучномовці передбачена можливість внутрішньої установки додаткових плат контролю лінії/гучномовця.
Особливості:
- Відмінне відтворення мови і музики.
- Двосмугова система.
- Широкий кут розкриття діаграми спрямованості.
- Привабливий корпус з ABS-пластика.
- Місце для установки плати контролю лінії/гучномовця всередині корпусу.
- Волого-пилозахищений корпус, відповідно до IEC 60529, IP 65.
- Відповідає стандартам EN 54-24, BS 5839-8 і EN 60849.
Характеристики:
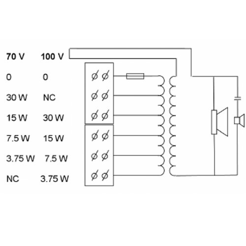
- максимальна потужність - 45 Вт;
- номінальна потужність - 30 Вт (30 - 15 - 7,5 - 3,75 Вт);
- звуковий тиск номінальна потужність / 1 Вт (на 1 кГц, 1 м) - 115/100 дБ;
- діапазон частот (-10 дБ) - 220 Гц ... 20 кГц;
- кут розкриття (на 1 кГц / 4 кГц, - 6 дБ) - горизонтальне 68°/68°; вертикальне 98°/118°;
- номінальна вхідна напруга - 70/100 В;
- номінальний опір - 167/333 Ом;
- роз'єм - 6-контактний затискний контакт;
- габаритні розміри (В x Ш x Г), мм - 255 x 370 х 354;
- колір корпусу - світло-сірий (RAL 7035);
- вага - 5,5 кг;
- робоча температура - -25 °С ... + 55 °С.
| Рейтинг потужності: | 31-60 Вт |
| Категорія: | Гучномовець |
| Матеріал корпуса: | Пластиковий корпус |
| Колір: | Сірий |
| Застосування: | Для оповіщення |
| Мін. частота відтворення: | 20 - 24,9 Гц |
| Макс. частота відтворення: | 18 - 19,9 кГц |
| Площа озвучування: | Великі приміщення |
| Гарантія: | 1 рік |
| Вага: | >5 кг |
| Країна виробник: | Німеччина |
- Altoдо порівняння у списку порівняння
3 649грн В наявності
- INTER-Mдо порівняння у списку порівняння
11 792грн В наявності - INTER-Mдо порівняння у списку порівняння
11 088грн В наявності
Monacor Iдо порівняння у списку порівнянняНемає в наявності
-
16.02.2026
Рупорна акустична система це спеціалізоване звукове рішення, призначене для забезпечення високого звукового тиску на великих відстанях із мінімальними втратами сигналу. Основна перевага рупорних систем полягає у конструкції, яка дозволяє ефективно фокусувати звук, підвищуючи його дальність та чіткість, що є критично важливим для великих відкритих чи зашумлених просторів. Такі системи широко застосовуються на концертних майданчиках, спортивних аренах, фестивалях, громадських зібраннях та інших подіях, де важлива потужність звуку, оптимальне покриття та рівномірне звучання. Рупорні акустичні системи відрізняються потужністю, якістю складових та можливістю інтеграції з професійним аудіообладнанням. У каталозі LuxPRO.ua представлені потужні та надійні рупорні акустичні моделі, що підійдуть для різних задач від локальних інсталяцій до масштабних концертних систем. Незалежно від завдань, ці системи забезпечують стабільне, чітке звучання з високим рівнем звукового тиску, що дозволяє створювати ефективні професійні звукові рішення в будь-яких умовах.
-
17.02.2023
Озвучування різних типів приміщень в Україні - пріоритетний напрямок діяльності нашої компанії. Багаторічний досвід роботи в даній сфері дозволяє нам знаходити надійні і якісні інсталяційні рішення для будь-якого бару, ресторану, кафе, конференц-зали та багатьох інших будівель громадського та приватного призначення. В даному огляді ми розповімо про акустичних системах Hi-Fi і Hi-End в ролі фонового оповіщення, озвучування за допомогою трансляційній акустики, аварійні системи оповіщення. Але все ж рекомендуємо при покупці і установці даного обладнання, звернутися до наших фахівців, які абсолютно безкоштовно проведуть консультацію поїх підбору а при необхідності і установку всього комплексу систем фонового озвучування.
-
21.10.2022
Системи фонового звуку, як і системи оповіщення, останнім часом набули стрімкого поширення. Погодьтесь, зараз навіть біля мобільної кав'ярні ми можемо чути приємну музику і цим само умовно відгороджуємось від ранкового натовпу, що стрімголов поспішає зайнятись своєю щоденною рутинною роботою. І справа тут не в каві. Справа в звуковому оформленні.
ТОП-категорії:
- Настінна трансляционная акустика і рупорні системи оповіщення
- Рупорна акустична система
- Рупорна акустична система для вулиці



.jpg)






.jpg)
.jpg)





.jpg)








































.png)


